Магазин запчастей для бытовой техники - Arlos
Москва
close
Выберите ваш регион
АбаканАлександровАльметьевскАнгарскАрзамасАрмавирАртемАрхангельскАстраханьАчинскБалаковоБалашихаБеларусьБелгородБердскБерезникиБийскБлаговещенскБратскБрянскВеликий НовгородВидноеВладивостокВладикавказВладимирВолгоградВолгодонскВолжскийВологдаВолховВоркутаВоронежВоскресенскВыборгГатчинаГеленджикГрозныйДедовскДербентДзержинскДзержинскийДимитровградДмитровДолгопрудныйДомодедовоДонецкЕвпаторияЕгорьевскЕкатеринбургЕлецЕссентукиЖелезногорскЖелезнодорожныйЖуковскийЗеленоградЗлатоустИвановоИвантеевкаИжевскИркутскИстраЙошкар-ОлаКазаньКалининградКалугаКаменск-УральскийКамышинКаспийскКемеровоКерчьКировКисловодскКлинКовровКоломнаКомсомольск-на-АмуреКопейскКоролёвКостромаКотельникиКрасногорскКраснодарКраснознаменскКрасноярскКурганКурскКызылЛенинск-КузнецкийЛипецкЛобняЛыткариноЛюберцыМагнитогорскМайкопМалаховкаМахачкалаМиассМоскваМурманскМуромМытищиНабережные ЧелныНазраньНальчикНаро-ФоминскНахабиноНаходкаНевинномысскНефтекамскНефтеюганскНижневартовскНижнекамскНижний НовгородНижний ТагилНовокузнецкНовокуйбышевскНовомосковскНовороссийскНовосибирскНовоуральскНовочебоксарскНовочеркасскНовошахтинскНовый УренгойНогинскНорильскНоябрьскОбнинскОдинцовоОктябрьскийОмскОрелОренбургОрехово-ЗуевоОрскПавловский ПосадПензаПервоуральскПермьПетрозаводскПетропавловск-КамчатскийПодольскПрокопьевскПсковПушкиноПятигорскРаменскоеРеутовРостов-на-ДонуРубцовскРыбинскРязаньСакиСалаватСамараСанкт-ПетербургСаранскСаратовСевастопольСеверодвинскСеверскСергиев ПосадСерпуховСимферопольСмоленскСосновый БорСочиСтавропольСтарый ОсколСтерлитамакСтупиноСургутСызраньСыктывкарТаганрогТамбовТверьТихвинТольяттиТомилиноТомскТроицкТулаТюменьУлан-УдэУльяновскУссурийскУсть-ИлимскУфаУхтаФеодосияФрязиноХабаровскХанты-МансийскХасавюртХимкиЧебоксарыЧелябинскЧереповецЧеркесскЧеховЧитаШахтыЩелковоЭлектростальЭлистаЭнгельсЮжно-СахалинскЯкутскЯлтаЯрославль
  • - бесплатно по РФ
    Автоперезвон. Работает по принципу: Вы позвонили на номер, мы сбрасываем звонок и перезваниваем через 3 секунды.
  • - по Москве
  • 8 (925) 663-83-63

Call-центр

пн-вс: 10:00-19:00

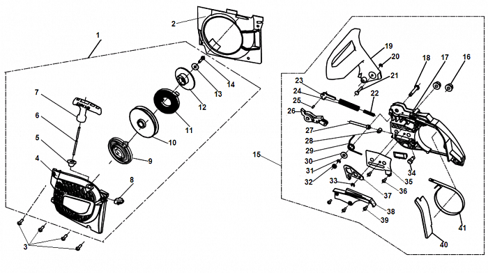
4 СТАРТЕР - ТОРМОЗ ЦЕПИ БЕНЗОПИЛА CHAMPION 245

NАртикулНазваниеСрок отгрузкиЦенаКупить
1 3002000313 Стартер в сборе 1.019 р.
2 3001014106 Кожух крыльчатки маховика 126 р.
3 5010040514 Винт крепления стартера
4 3001013317 Крышка стартера 344 р.
5 4504001101 Направляющая шнура стартера 30 р.
6 5310038-76 (1) Шнур стартера
7 1700003 Ручка стартера 60 р.
8 4018002115 Направляющая винтов
9 4012001201 Пружина стартера возвратная 192 р.
10 4012015105 Барабан стартера 126 р.
11 4012002103 Пружина храповика стартера 132 р.
12 4012010102 Храповик стартера 93 р.
13 5050010516 Шайба храповика стартера 18 р.
14 5010130514 Винт крепления храповика 30 р.
15 3002000205 Крышка шины в сборе 1.789 р.
16 1400007 Гайка крышки шины М8 37 р.
17 3001011307 Крышка шины 476 р.
18 4011005101 Болт крепления ручки тормоза
19 3001036103 Ручка тормоза 344 р.
20 5070030300 Шайба стопорная
21 4011005103 Штифт ручки тормоза
22 4011002101 Пружина ленты тормоза внутренняя 20 р.
23 4011004108 Тяга ленты тормоза 22 р.
24 4011001102 Пружина ленты тормоза основная 46 р.
25 4011014105 Штифт тяги
26 4011004201 Рычаг ленты тормоза 51 р.
27 4015002102 Болт натяжения цепи 60 р.
28 4015004102 Палец натяжения цепи 43 р.
29 4011006101 Пружина ручки тормоза 35 р.
30 5050010618 Шайба пружины
31 5070030400 Шайба стопорная
32 4011008101 Шайба
33 5070030301 Шайба стопорная
34 4015001102 Шестерня натяжения цепи 103 р.
35 040606002 Боковой лист на крышку шины 34 р.
36 5010024206 Винт крепления бокового листа
37 4011009101 Стопорная пластина ручки тормоза 44 р.
38 3001015102 Крышка тормозного механизма 60 р.
39 5010024209 Винт крепления крышки
40 4014014101 Накладка крышки шины 66 р.
41 YD520016-23111 Лента тормоза 154 р.
Найдено товаров: 41
1
▲ Наверх
0
8 (925) 663-83-63

Call-центр

пн-вс: 10:00-19:00

НАЙТИ ПО МОДЕЛИ
Введите номер заказа
Введите номер своего заказа, что бы узнать его текущий статус.
Что бы получить доступ к расширенным функциям, пройдите не сложную регистрацию. Зарегистрироваться